
Para tal tarea y debido a que no soy diseñador de circuitos, me dedique a buscar en la red algún esquema que diera la talla, y el que me convenció fue escrito por el Ing. Daniel Pérez LW1ECP, cuyo artículo completo paso a transcribir en esta entrada:
Accesorio de medición infaltable es la punta detectora, para conversión de RF a CC.
Las de impedancia lo más alta posible se prestan para hacer mediciones en puntos que no tendrían que darse cuenta de su presencia, tales como circuitos sintonizados, o bien puntos intermedios de un circuito. La de un solo diodo inevitablemente incluye un choke o resistor para permitir el retorno de la CC rectificada. Si es un choke, éste restringe el rango de frecuencias útil (insuficiente reactancia abajo, autorresonancia serie arriba); si es un resistor disminuye la impedancia de la punta si es de bajo valor, y su sensibilidad si es alto.
Recomiendo la configuración con doble diodo (conocida como «doblador de tensión de media onda» en fuentes de alimentación) porque evita los peros mencionados, no porque se necesite mayor tensión de CC detectada.
Si los diodos no tuviesen caída en directa, la tensión rectificada tendería a ser el valor pico a pico de la RF (2.82*Veficaz para senoidales), pero en la mayoría de las aplicaciones probablemente se deberá disponer de una tabla de calibración armada con la ayuda de un generador calibrado, a menos que lo que se busque sea mediciones comparativas (p. ej. buscar un máximo o un mínimo en un ajuste). No se conforme con restar dos caídas de diodo a lo leído: con bajos niveles, los diodos trabajan total o parcialmente en la zona de ley de detección cuadrática, donde la relación CC versus RF es complicada.
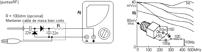
Los 4 ó 5 componentes en A) de {puntasRF} pueden alojarse en una punta para téster, o el cuerpo de una lapicera. El cable de masa debe mantenerse lo más corto posible.

La función del resistor se explica en otro párrafo.
* No debe confiarse a ciegas en que la impedancia de una punta será tan elevada como se necesite. Si es importante determinar en qué medida se está cargando al circuito, puede hacerse así, si se dispone de una segunda punta idéntica:
- Conecte una punta y anote la CC de salida.
- Sin desconectarla, conecte al mismo punto del circuito la segunda punta, cargada con la misma resistencia de CC que la primera.
- Tome nota de la variación de lectura: si bajó 5%, entonces puede extrapolarse con razonable certeza que la tensión que debería obtenerse con una punta que no cargue debería ser 5% mayor que el primer valor anotado.
- Si la disminución es mayor que 10 o 20% la extrapolación comienza a dar errores groseros; más vale reconsiderar si la punta es realmente apta para ese trabajo, o usar el método de sustitución que se mencionará más adelante.
Se supone que el punto donde se mide no está dentro de un lazo de AGC.
* Otra forma de determinar cuánto carga la punta: si después del punto en cuestión vienen más etapas, y luego un detector, fijarse cuánto varía la tensión detectada al poner la punta (tener en cuenta si este detector trabaja en modo lineal o cuadrático).
Por otro lado, esta es la única forma segura de determinar cómo molesta la punta al colgarla sobre un LC: es posible que la molestia principal sea la capacitancia introducida, y no tanto la resistencia paralelo, en cuyo caso se introduce una des-sintonía que sólo puede evaluarse viendo el corrimiento de la curva al hacer una medición con barrido.
* Las de impedancia baja y bien determinada (50 o 75 ohm), en cambio, funcionan más bien como terminaciones. Pueden estar formadas simplemente por una punta de alta impedancia más un resistor que fije la impedancia, pero ya que la impedancia no ha de ser lo más alta posible se acostumbra a prepolarizar los diodos para disminuir la «resistencia de video» del detector, lo que aumenta la tensión de salida cuando la resistencia de carga de CC no es muy alta. Ya no es despreciable para nada la inductancia del conductor de masa: en VHF directamente no puede existir.
* ¿Qué diodos usar para las puntas?. Lo más razonable para altas frecuencias es un diodo como el detector de video: OA90, 1N60, etc. No cualquier germanio sirve: una vez se usó un OA91 en un detector de video de un TV, con resultados desastrosos. El OA91 era un diodo pensado especialmente para el CAF del horizontal en televisores valvulares, con alta tensión inversa, pero malo para rectificar RF; parece que dejaba pasar de largo casi tanta FI como la que convertía a CC y toda la tira de FI estaba «calentísima»; cualquier masa que se tocara hacía variar la curva.
Pero tampoco se puede confiar en simplemente especificar un modelo de diodo adecuado: parece que como las cosas de germanio han caído en desgracia, ciertos proveedores meten gato por liebre cuando se les pide un diodo de germanio determinado. La parte B) de {puntasRF} muestra la diferencia entre las respuestas de varios supuestos «1N60».
Los que caen más rápido con la frecuencia probablemente tengan mayor capacitancia. Los que tienen menos salida ya en frecuencias bajas tal vez lo hagan por tener mayor resistencia serie o peores fugas. Algunos con curvas muy distintas eran del mismo lote. Una forma de aprovisionamiento segura es canibalizar los detectores de video de televisores descartados. En los valvulares tipo Wells Gardner, se encuentran dentro del blindaje de la bobina final, en un capuchón retirable.
La curva señalada con (*) corresponde a un diodo BA481. Pese a ser de silicio, su caída no es mucho mayor que la de un germanio, por ser de juntura Schottky (hot carrier).
Este tipo de diodos es altamente recomendable para hacer buenas puntas, hasta frecuencias de microondas. Lástima que no sea un ítem normal en nuestro mercado: si en un aviso dicen que tienen diodos Schottky casi seguro que se refieren a rectificadores de alta corriente (da ganas de gastar uno con la amoladora para «bajaseñalizarlo»).
Es FUNDAMENTAL tomar precauciones anti estática para evitar que queden con altas fugas.
Nota: adviértase la alta resistencia de carga empleada en este ejemplo. Esta forma de maximizar la CC de salida no es problema si la carga es un téster, pero si es un osciloscopio usado con un barredor puede introducir deformación de la curva por lentificar mucho la descarga del capacitor de filtrado.
* Nótese el resistor en serie con la salida detectada en la figura de los 1N60. Antes de colocarlo, se notaba un «serruchito» en la respuesta obtenida al barrer en banda ancha. Como la resistencia paralelo en conector de entrada del osciloscopio es muy alta, para la RF prácticamente es sólo una capacitancia. ¿Y qué importa, si lo que le llega es CC?. El coaxil que la une a la punta es una línea de transmisión, que para ciertas frecuencias transforma esta capacitancia en una reactancia inductiva igual y opuesta a la del capacitor de filtrado del diodo. Para cada una de estas resonancias el diodo se queda sin filtrado, produciendo un pozo en la CC detectada. Ni Smith se lo hubiese imaginado. El resistor, entonces, tiene la misión de «bajar el Q» a este efecto de resonancia. Esto es menos problemático si el coaxil es el especial para osciloscopios: ya tiene un conductor central resistivo para amortiguar reflexiones.
* A menos que un detector sea perfectamente lineal, 1dB de variación (1,12 veces de tensión) en la RF no producirá 1dB de variación en la tensión detectada.
Pero si se dispone de un atenuador variable confiable no es necesario conocer la ley del detector. Supongamos que se desea medir el ancho a -3dB de una curva. El método a seguir es:
1) Acoplar el canal vertical en CC.
2) Ajustar el nivel de RF o la sensibilidad del osciloscopio para llenar la pantalla a lo alto.
3) Insertar un atenuador de 3dB a la entrada del sistema.
4) Anotar la nueva altura de la curva, en cantidad de divisiones. Llamémosla «X».
5) Quitar el atenuador.
6) Los puntos a -3dB son aquellos donde la curva tiene una altura «X».
Pero, ¿qué hacemos si lo que se quiere medir son los puntos de -20dB (10 veces en tensión de RF), como en la figura {0-20dB} parte A)?.

Suponiendo un caso pesimista de ley puramente cuadrática, ello produciría una variación de 100 veces en la CC, o sea que con el atenuador puesto la onda prácticamente desaparece. Y no siempre es posible aumentar 100 veces la ganancia del osciloscopio. Un remedio se da en la parte B): la altura que se anota es atenuando sólo 10dB, pero luego no se vuelve al nivel original sino a uno 10dB superior: lógicamente la curva sale de la pantalla, pero no importa. Sólo hay que fijarse que la línea base no se desplace por algún efecto secundario dentro del osciloscopio, producido por la sobrecarga del canal vertical.
Una posibilidad más, si no se aprecia éste u otros problemas, resulta más fácil:
1) Lograr pantalla llena estando puesto el atenuador de 20dB (o lo que se desee).
2) Esta es la altura «X».
3) Sacar el atenuador.
4) Los puntos a -20dB son aquellos donde la curva tiene una altura «X».
Nota: todo lo anterior es válido si la ganancia y la respuesta en frecuencia no cambia con el nivel de señal, y que la inserción introducida por el atenuador sea realmente la nominal, lo que no se cumple si «ve» impedancias distintas a la propia.
* A menudo necesitará un amplificador de uso general para sus mediciones de bajo nivel. Una idea es basarlo en la conocida línea «MAR» de amplificadores monolíticos de Mini Circuits.
Una alternativa es un híbrido para amplificadores de CATV que pueda conseguirse como repuesto. El viejo Motorola MHW1341 gana unos 34dB, y aunque está especificado para las antiguas redes de 54 a 300MHz con Z0=75 ohm, es útil entre 5 y 400MHz. Necesita +24V a 310mA. La ganancia no es plana, a propósito: gana un poco más en 300 que en 54MHz para ayudar a compensar las mayores pérdidas de la circuitería externa en la punta alta. Debajo de 300MHz, para tono único se comprobó que puede dar aproximadamente 1/2W sin comprimir. La cifra de ruido es de 7dB. Tolera hasta 55dBmV (+6dBm) en la entrada, límite que se DEBE respetar. La elevada ganancia (está codificada en el 2o y 3er dígitos) exige un cuidadoso trazado del impreso. Es recomendable unir bien directo el bloque metálico a la masa de la plaqueta. Si la planicidad es importante, conviene usar 2 híbridos de 17dB para evitar problemas de masa casi insolubles.
Los modelos MHW3341 y 5341 están pensados para hasta 330 y 450MHz. El Philips BGY88 reemplaza al MHW5341 pero tiene un remonte debajo de los 10MHz.
* Las armónicas engañan las mediciones, especialmente si se usa detectores de banda ancha (que tienden a detectar la suma de las envolventes de fundamental y armónicas):
- Degradan la respuesta aparente de filtros. Si se tiene un pasabanda perfecto de 200 a 300MHz, y se desea medir su atenuación en 120MHz, la 2a armónica del oscilador (240) pasará lo más campante al detector, lo cual hará creer que el rechazo es más pobre de lo que es.
- Supongamos un transmisor conectado a una carga que esté perfectamente adaptada para la frecuencia de trabajo. Un medidor de ROE intercalado en ese punto debería indicar ROE=1. Pero si la salida del transmisor es abundante en armónicas, si no existe adaptación buena para esas frecuencias, la potencia reflejada de éstas hará creer que la ROE es peor.
- Los generadores de barrido tienen un control automático de nivel (ALC) que sensa la salida con un detector, y la corrige actuando sobre la ganancia de alguna etapa. Pero si el detector es engañado por las armónicas (y además espúreas si la frecuencia de salida se obtiene por batido), se introducirá una aplanicidad que no existiría SIN el ALC. En un barrido de banda ancha cabe sospechar esto si se encuentran muchos más viboreos de nivel que lo que cabría esperar por simples imperfecciones de respuesta de frecuencia.
- Al ver la salida de un amplificador de banda ancha con punta detectora, al darle cada vez más y más nivel de entrada y atenuando el osciloscopio para mantener la imagen en la pantalla, llega un momento en que la curva cambia, porque se está saturando. Pero en vez de una curva chatita como cabría esperar lo más probable es que aparezcan muchas ondulaciones más o menos chiquitas.
Todos estos casos se explican por las armónicas que se están sumando o restando caprichosamente a la fundamental detectada. Si en cambio se usa un analizador, la curva se verá distinta.
